Челябинск
Екатеринбург
Костанай
Красноярск
Москва
Пермь
Самара
Санкт-Петербург
Челябинск
+7 (351) 725-89-78
Меню
О компании
Опросные листы
Метрология и поверка
Техническая поддержка
Сервисное обслуживание
Контакты
0
Каталог продукции
Выбор из перечня приборов
⇓ Скачать каталог в pdf
Сервисное обслуживание
Датчики температуры
Уровнемеры
Датчики давления КРОКУС-Л
Вторичная аппаратура
Функциональная аппаратура
Измерительные преобразователи, защитные гильзы, бобышки и прочие узлы и детали к ДТ
Продукция "Экспресс-анализ"
Готовая продукция в наличии на складе
Подбор датчиков температуры
По параметрам
Готовая продукция
В наличии на складе
Ваш заказ
99+
Измерительные преобразователи, защитные гильзы, бобышки и прочие узлы и детали к ДТ
Защитные гильзы и бобышки
Бобышки Б1, Б2, Б3, Б4
Бобышки Б1, Б2, Б3, Б4
Бобышки Б1, Б2, Б3, Б4
Бобышки предназначены для монтажа датчиков температуры на объекте.
Отправить заявку
Гарантия
Гарантийный срок эксплуатации - 12 месяцев со дня ввода в эксплуатацию или 18 месяцев со дня изготовления.
Добавить в заказ
Основные технические характеристики
Бобышки предназначены для монтажа датчиков температуры на объекте.
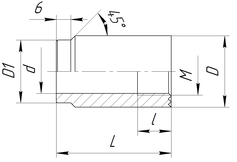
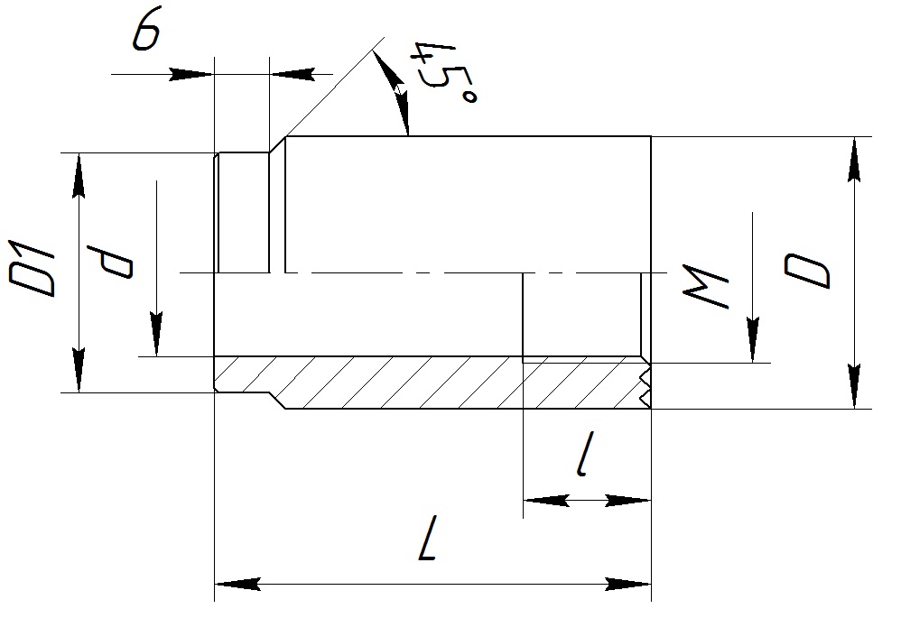
Рисунок 1
Рисунок 2
Рисунок 3
Рисунок 4
Таблица 1
Обозначение
Рисунок
Размеры, мм
М
D
D1
d
l
L
Бобышка Б1
1
М20х1,5
30
26
18
24
40
60
М27х2
40
30
25
32
50
70
М33х2
50
36
31
32
70
90
Бобышка Б2
2
М20х1,5
30
26
11
14
40
60
Бобышка Б3
3
М20х1,5
28
26
-
-
-
М27х2
35
23
-
-
-
G3/4-B
35
33
-
-
-
М33х2
41
39
-
-
-
Таблица 2
Обозначение
Рисунок
Размеры, мм
M
D
d1
L
l
Бобышка, Б4
4
М20х1,5
32
18,5
115
24
140
М27х2
42
25
115
140
М33х2
48
31
115
140
М18х2
30
16
115
140
М24х1
36
23
115
Документы, ПО, опросные листы
Паспорт
Файл pdf, 0.48 МБ
Заказ
Продолжая просмотр сайта, вы соглашаетесь с использованием файлов cookie и иных методов, средств и инструментов интернет-статистики, применяемых для повышения удобства использования сайта. Пожалуйста, ознакомьтесь с
«Политикой конфиденциальности»
Я согласен