Предназначены для непрерывного измерения температуры жидкостей, пара, газа на объектах различных отраслей промышленности, преобразования полученных значений в унифицированный токовый выходной сигнал 0-5 или 4 - 20 мА и его дистанционной передачи. Конструктивно состоят из жезла (защитная арматура — сталь 12Х18Н10Т, 10Х23Н18 или 8Х20Н14С2) со встроенным чувствительным элементом (термопреобразователь сопротивления или термопара) и измерительного преобразователя, размещённого в головке. Головка — из алюминиевого сплава, с разъёмом или без. Монтаж — в гнездо, с помощью штуцера М20х1,5 или М16х1,5.
Маркировка по взрывозащите:
"0ExiaIIBT5X" (при работе в комплекте с блоками БПД-40-2к-Ех, барьером РИФ-2А с блоком БПД-40); "1ExibIIBT5X" (при работе в комплекте с барьерами СПАРК, УТЕС-2, БИЗ-ЭПП).
Питание датчиков:
ТХАУ — напряжение постоянного тока 36 В (допускаемое питание от источников от 18 до 36 В), потребляемая мощность не более 0,8 Вт.
ТХАУ-Ех — от источника питания 24 В в искробезопасном исполнении или через барьер искрозащиты. Потребляемая мощность не более 0,5 Вт.
Исполнения датчиков:
N3 — по виброустойчивости (устойчивости к механическим воздействиям) по ГОСТ 12297; IP66 — по степени защиты от воды и пыли по ГОСТ 14254. УХЛ3.1 — климатическое исполнение по ГОСТ 15150 (температура окружающей среды -40...+70°C, атмосферное давление 84:106.7 кПа); Р1 — группа исполнения по ГОСТ 12997 (атмосферное давление 84…106.7 кПа); У1.1 — климатическое исполнение по ГОСТ 15150 (но температура окружающей среды -50…+85ºС).
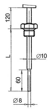
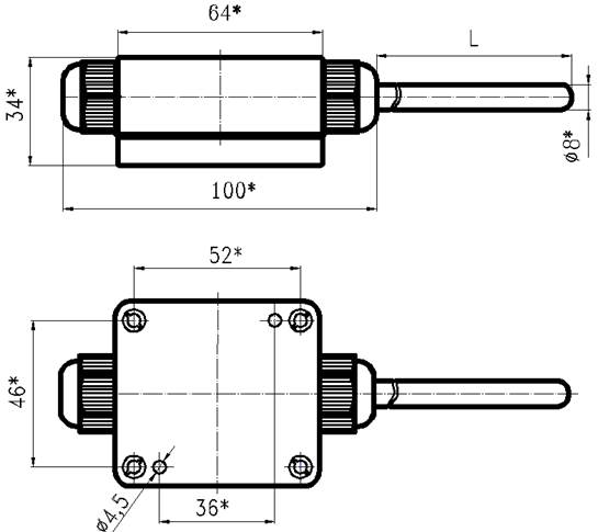
ГАБАРИТНЫЕ И ПРИСОЕДИНИТЕЛЬНЫЕ РАЗМЕРЫ

Рисунок А.0 Рисунок А.1 Рисунок А.2
Головка из алюминиевого Головка из алюминиевого
сплава со штуцером М20х1,5 сплава с разъемом 2РТТ
и отверстием Ø14 мм

Рисунок А.3 Рисунок А.4 Рисунок А.5 Рисунок А.6